產品介紹
【產品名稱】諧創推拉窗鎖
【產品專利】200920216008.6
諧創推拉窗防護鎖,該推拉窗安全鎖止器,結合窗戶材料規格所共有的規律性,經過多次樣品實際安裝調試,能適應生活中現有的多種規格的金屬類橫向推拉窗安裝使用。通過安裝在窗扇靠窗框架的豎邊框內的鎖止裝置的單向嚙齒與安裝在窗框架上滑道內的單向齒條嚙合,達到在窗扇開啟0-120mm距離間能單向鎖止(鎖后可以關窗)。并附有一限位裝置,當嚙齒分離(鎖開)后仍能將窗扇可開啟的寬度限制在0-120mm間自由滑動,當窗扇推至靠緊限位裝置轉動鎖芯至嚙合(鎖關),再向開窗方向推即可把窗扇完全打開。對窗戶整體結構和外觀不會造成損壞。不影響窗戶視野,開窗即可盡享您窗外美景。由于在窗扇鎖止位置只能自如的關閉窗扇,不能再正常打開窗扇,所以在開窗通風時也能有效的防止家中小朋友開窗玩耍,對外人開窗又能起到很好的限制,不會影響消防安全要求,大大提高了窗戶的安全性。
產品圖片
- 普通齒鎖
- 密碼鎖
產品說明
【產品結構】
該鎖具主要由鎖體(1),鎖止裝置(2),固定裝置(3),單向齒條(4),限位裝置(4-1)(根據需要安裝),連接拉絲(5),定位墊片(6)(根據需要墊于鎖止裝置則面),其中(6-1)用于鉆固定裝置的定位參照孔,(6-2)用于鉆鎖芯的定位參照孔,(6-3)用于鉆鎖體的定位參照孔。

【工作原理】
該鎖具是通過安裝在窗扇靠窗框架的豎邊框內的鎖止裝置的單向嚙齒與安裝在窗框架上滑道內的單向齒條嚙合,達到在窗扇開啟0-120mm距離間能單向鎖止(鎖后可以關窗)。并附有一限位裝置,當嚙齒分離(鎖開)后仍能將窗扇可開啟的寬度限制在0-120mm間自由滑動,當窗扇推至靠緊限位裝置轉動鎖芯至嚙合(鎖關),再向開窗方向推即可把窗扇完全打開。
【適用范圍】
該鎖具適應安裝金屬類橫向推拉窗,窗扇豎邊框內孔徑不小于20mmX18mm,窗扇頂邊與窗框架上滑道正面間距在13mm-15mm之間。
【使用方法】
該鎖具采用270度角轉動鎖控,當鑰匙向左轉至橫向時單向齒嚙合(鎖關),當鑰匙向右轉動270度角至豎向時單向嚙齒分離(鎖開)。
【安裝方法】
1.請檢查窗戶是否適合安裝該鎖具。
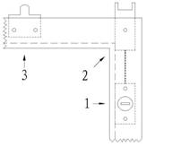
2.根據安裝需要請將窗扇靠窗框架的邊框上方的固定螺絲釘擰出,請按下圖定位鎖芯(1),鎖止裝置(2),固定裝置(3)的位置,并用定位墊片配合鉆出安裝所需要的孔徑(單位:mm)。

3.請按下圖在窗框架上滑道內安裝單向齒條(4)和限位裝置(4-1),單向齒條的垂直面端靠窗框架豎邊,與窗框架豎邊間距20mm左右,螺絲釘孔直徑2.8mm。

4.請按下圖將鎖止裝置與鎖體的滑動片用連接絲按孔1至孔2之間的距離減去60mm連接牢固,請注意鎖體的滑動片的齒朝左,鎖芯向右轉動時滑動片向下動作。

5.請按下圖將連接好的鎖體和鎖止裝置從窗扇豎邊框上方放入,用拉釘將鎖體(1)固定牢固;用拉釘將鎖止裝置(2)卡住在窗扇安裝位置稍稍拉下,使鎖止裝置能自由活動但不會脫落;將固定裝置(3)用螺絲釘固定在安裝位置不要擰緊,使固定裝置能自由活動便不會脫落。

6.請將窗扇先內后外組裝到窗框架內,再將鎖止裝置與安裝在窗框上滑道內的單向齒條嚙合好,將之前窗扇上擰出的固定螺絲釘固定牢固;將之前未拉緊的拉釘固定牢固,并在此拉釘正下方25mm位置鉆一直徑3.4mm孔用拉釘加固;確定固定裝置的上方與窗框上滑道正面接觸到了,將螺絲釘擰緊固定牢固。

【保養保修】
建議您間隔一個月用少許潤滑油在單向齒條上涂抹一次和向鎖芯內注入少許。
若該鎖具出現故障:
1.請檢查單向齒條,限位裝置,固定裝置的螺絲釘是否松動或接觸過緊;鎖止裝置,鎖體的拉釘是否松動接觸過緊;鎖體與鎖止裝置間的連接拉絲是否斷開。
2.請檢查限位裝置及鎖止裝置內的彈簧是否被異物卡住。
3.請檢查單向齒條各鎖止裝置的嚙齒是否磨損,若只是輕微磨損,請將鎖止裝置重新安裝。
4.若某部件已損壞,請及時更換。
5.按中華人民共和國國家法律規定“三包”。
【聲明】
1.該鎖具不具防盜功能。但請注意,可用薄金屬片護擋住窗扇下方兩則的滑輪調位螺絲和窗扇被限位距離之間可看到限位裝置(4-1)的距離段。
2.隨著產品樣式的更新,實物可能與圖示不符,但基本原理相同。








